
Yamaha has now filed a patent application for its electric turbo engine, under development. While the same mechanics are already available in high-end cars by Mercedes-Benz, Porsche, and more, it is the first time that a two-wheeler manufacturer is working to integrate the engine into the product line.
Previously, Honda introduced a new electric compressor for its V3 engines, and Yamaha is working on an electrically controlled turbocharged unit. The main function of the E-turbo units is to reduce the lag by spinning the turbo blades faster. This E-Turbo unit is expected to develop more power output, however, the exact figures of the powertrain are awaited.

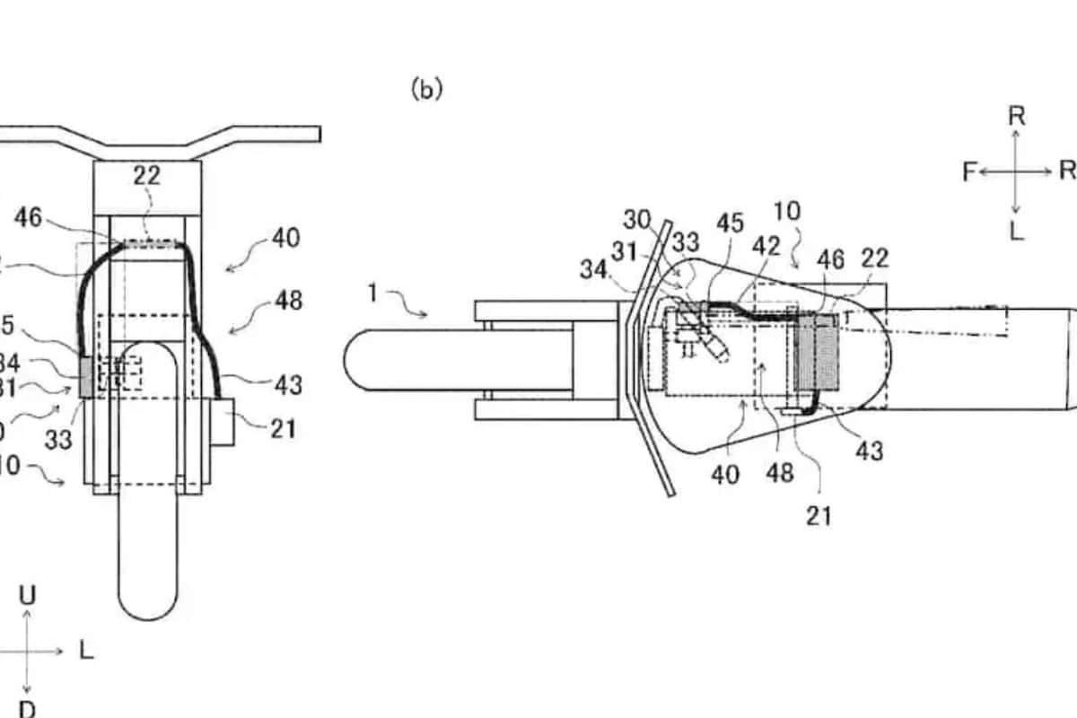
Yamaha's engine design patent
The patent images filed by the Japanese motorcycle maker's electric turbo engines reveal a few details about its design and layout. The images suggest that the brand is likely to equip a high-voltage electric system to make the engine work; the tech is found in the e-turbo cars. Also, the turbo has been mated with a generator that is propelled by the crankshaft.
Also Read: Ather Rizta Hits 1 Lakh Sales Milestone Within A Year Of Launch
While Yamaha's e-turbo engine might take some time the launch, Honda's engine concept is likely to be incorporated into the upcoming bikes sooner. Honda has paired an electric supercharger with a V3 engine, which is likely to enable the power unit to develop more power at lower RPMs.
These concepts are likely to take some time, however, Kawasaki has already incorporated a supercharged power unit in its bikes like the Ninja H2R and the H2 SX. This has given the motorheads a taste of what a power booster engine feels like.
Track Latest News Live on NDTV.com and get news updates from India and around the world