Mobile Patent
-
{
- All
- News
- Videos
-
Samsung Patent Document Hints at Galaxy Smartphone With Expanding Display, Movable Camera System
- Friday May 22, 2026
- Written by Shaurya Tomer, Edited by David Delima
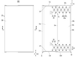
Samsung has been rumoured to be exploring smartphones beyond traditional form factors. Following its success with the book-style and clamshell-design handsets in recent years, leaks have indicated that it is also developing a wide foldable, widely known as the Galaxy Z Fold Wide. A newly discovered patent now suggests that the South Korean technolo...
-
www.gadgets360.com
-
Samsung Patent Application Suggests Galaxy Z TriFold 2 Could Launch With an S-Pen Housed Inside Its Hinge
- Monday May 11, 2026
- Written by Dhruv Raghav, Edited by David Delima
Samsung Galaxy Z TriFold 2 will be equipped with a special slot for the S-Pen stylus, which will be placed inside the hinge of the foldable, according to a patent-based leak. Moreover, the design of the rumoured twice-folding smartphone has been spotted in purported renders. The images suggest that the S-Pen stylus pocket will be placed inside the ...
-
www.gadgets360.com
-
Samsung Patent Hints at Triple-Folding Galaxy Z TriFold Wide With Broader Display
- Wednesday April 15, 2026
- Written by Shaurya Tomer, Edited by David Delima
Samsung is speculated to be working on a new foldable smartphone form factor, with a recently surfaced patent hinting at a tri-fold design. The development comes as the company is expected to expand its foldable portfolio following the introduction of the Galaxy Z Tri-Fold in 2025. The patent suggests Samsung may be working on a more experimental f...
-
www.gadgets360.com
-
Samsung Patent Hints at Potential Clamshell-Style Foldable With Two Cover Displays
- Thursday March 5, 2026
- Written by Dhruv Raghav, Edited by David Delima
Samsung has filed a design patent with the World Intellectual Property Organization (WIPO) in the US, which received registration approval earlier this month, on March 3. The patent document reveals the design of the purported clamshell-style foldable smartphone. The handset will reportedly feature two cover displays, along with a dual rear camera ...
-
www.gadgets360.com
-
Samsung's Patent Document Explores Unique Flip Phone With Reversible Design
- Thursday January 8, 2026
- Written by Nithya P Nair, Edited by David Delima
Samsung reportedly filed a patent with the World Intellectual Property Organisation (WIPO) showing a different design for a foldable phone. The alleged sketches of the patent suggest that Samsung is planning to work on a reversible front-and-back flip phone design. The sketches show the device in different angles in folded and unfolded positions.
-
www.gadgets360.com
-
Ola Compact Electric Car Design Patent Filed In India: Check Deets
- Tuesday November 11, 2025
- Auto | Written by Akarsh Anant
Ola Electric has filed the design patent for its first electric car in India. Here's what you can expect from the MG Comet rival.
-
www.ndtv.com/auto
-
Samsung Patent Document Hints at 'Self-Healing' Screen for Foldable Phones: Report
- Tuesday October 14, 2025
- Written by Nithya P Nair, Edited by David Delima
Samsung reportedly patents self-healing screen technology and fingerprint sensor for foldables. The technology could debut in company's future foldable smartphones. The proposed structure can detect cracks, prevent damage, and heal sensitive areas, like in the camera cutouts and sensor regions. If implemented, the techonogly would pave way for a le...
-
www.gadgets360.com
-
Samsung Galaxy Z TriFold Patent Hints at Presence of Three Batteries, Triple Outer Camera Setup
- Friday October 10, 2025
- Written by Sucharita Ganguly, Edited by David Delima
A patent filing of the Samsung Galaxy Z TriFold shows a three-panel design with individual batteries linked by ribbon cables. The camera panel houses the smallest battery, while the third panel holds the largest, potentially offering more total capacity than the Galaxy Z Fold 7’s 4,400mAh cell. Rumoured to feature a 9.96-inch unfolded display, a ...
-
www.gadgets360.com
-
Apple Pencil With 'Trackball' Tip, Ability to Draw on Any Surface Described in Patent Document
- Wednesday July 9, 2025
- Written by Dhruv Raghav, Edited by David Delima
Apple has been granted a patent for its next generation stylus that could feature a trackball tip and a few new sensors. This could potentially allow users to create content on multiple surfaces without needing to draw on a touch sensitive display. It is to be noted that the company is yet to officially reveal the details about such a pencil.
-
www.gadgets360.com
-
Oppo Find N5 Flip Reportedly in Development, Schematics Hint at Updated Design With New Camera Layout
- Friday May 30, 2025
- Written by Sheldon Pinto, Edited by David Delima
The existence of Oppo’s next clamshell foldable is currently a mystery. It was previously reported that the company had halted work on its next clamshell device, which would have been the Oppo Find N5 Flip. The device was missing at the Oppo Find N5 announcement, which took place in February this year, hinting that the Chinese brand may have drop...
-
www.gadgets360.com
-
Samsung Vertical Rollable Phone Design Revealed in New Patent Document
- Tuesday April 22, 2025
- Written by David Delima
Samsung has been granted a US patent for a rollable smartphone design. The design patent hints at a compact phone that extends vertically to create a larger display and may feature a dual rear camera system that moves upwards with the expanding screen. Other OEMs like Oppo and Motorola, are also actively exploring 'sliding' phone concepts with exte...
-
www.gadgets360.com
-
Samsung Patent Application Describes Phone With Four Foldable Panels, Three Hinges
- Thursday April 3, 2025
- Written by David Delima
Samsung might be developing a foldable phone with four panels connected by three hinges, forming a single elongated display when unfolded. The panels fold into a thick bar, according to a patent application that has been published online. Samsung has yet to launch a tri-fold smartphone to rival the Huawei Mate XT Ultimate Edition
-
www.gadgets360.com
-
Samsung Foldable With 360-Degree Inward and Outward Folding Support Spotted in Patent Application
- Tuesday April 1, 2025
- Written by David Delima
Samsung is developing a 360-degree foldable phone, as revealed in a patent application. The device features a thin design with an inner screen that unfolds into a larger display or folds backward to serve as a cover display. Samsung showed off a phone with such a display in 2023, but it remains uncertain if this innovative foldable phone will be co...
-
www.gadgets360.com
-
Samsung Display Patent Hints at Tri-Fold Phone With Two Hinges, S Pen Support
- Thursday February 27, 2025
- Written by David Delima
Samsung Display recently secured a patent for a tri-fold smartphone that can fold twice. While Samsung already offers single-fold flip and book-style foldables, it has yet to launch a tri-fold phone like the Huawei Mate XT Ultimate Design. Recent reports suggest the company is developing a tri-fold foldable smartphone that could launch alongside th...
-
www.gadgets360.com
-
Apple's Foldable iPhone Tipped to Sport 7.74-Inch Inner Screen That 'Unfolds Like iPad'
- Saturday February 22, 2025
- Written by David Delima
Apple is reportedly developing a foldable iPhone to compete with Samsung, Oppo, and Huawei's foldable smartphones and a tipster has leaked details about the inner and outer displays of Apple's potential foldable iPhone on Weibo. While it has received patents for foldable technology, Apple has yet to announce plans to launch a foldable smartphone or...
-
www.gadgets360.com
-
Samsung Patent Document Hints at Galaxy Smartphone With Expanding Display, Movable Camera System
- Friday May 22, 2026
- Written by Shaurya Tomer, Edited by David Delima
Samsung has been rumoured to be exploring smartphones beyond traditional form factors. Following its success with the book-style and clamshell-design handsets in recent years, leaks have indicated that it is also developing a wide foldable, widely known as the Galaxy Z Fold Wide. A newly discovered patent now suggests that the South Korean technolo...
-
www.gadgets360.com
-
Samsung Patent Application Suggests Galaxy Z TriFold 2 Could Launch With an S-Pen Housed Inside Its Hinge
- Monday May 11, 2026
- Written by Dhruv Raghav, Edited by David Delima
Samsung Galaxy Z TriFold 2 will be equipped with a special slot for the S-Pen stylus, which will be placed inside the hinge of the foldable, according to a patent-based leak. Moreover, the design of the rumoured twice-folding smartphone has been spotted in purported renders. The images suggest that the S-Pen stylus pocket will be placed inside the ...
-
www.gadgets360.com
-
Samsung Patent Hints at Triple-Folding Galaxy Z TriFold Wide With Broader Display
- Wednesday April 15, 2026
- Written by Shaurya Tomer, Edited by David Delima
Samsung is speculated to be working on a new foldable smartphone form factor, with a recently surfaced patent hinting at a tri-fold design. The development comes as the company is expected to expand its foldable portfolio following the introduction of the Galaxy Z Tri-Fold in 2025. The patent suggests Samsung may be working on a more experimental f...
-
www.gadgets360.com
-
Samsung Patent Hints at Potential Clamshell-Style Foldable With Two Cover Displays
- Thursday March 5, 2026
- Written by Dhruv Raghav, Edited by David Delima
Samsung has filed a design patent with the World Intellectual Property Organization (WIPO) in the US, which received registration approval earlier this month, on March 3. The patent document reveals the design of the purported clamshell-style foldable smartphone. The handset will reportedly feature two cover displays, along with a dual rear camera ...
-
www.gadgets360.com
-
Samsung's Patent Document Explores Unique Flip Phone With Reversible Design
- Thursday January 8, 2026
- Written by Nithya P Nair, Edited by David Delima
Samsung reportedly filed a patent with the World Intellectual Property Organisation (WIPO) showing a different design for a foldable phone. The alleged sketches of the patent suggest that Samsung is planning to work on a reversible front-and-back flip phone design. The sketches show the device in different angles in folded and unfolded positions.
-
www.gadgets360.com
-
Ola Compact Electric Car Design Patent Filed In India: Check Deets
- Tuesday November 11, 2025
- Auto | Written by Akarsh Anant
Ola Electric has filed the design patent for its first electric car in India. Here's what you can expect from the MG Comet rival.
-
www.ndtv.com/auto
-
Samsung Patent Document Hints at 'Self-Healing' Screen for Foldable Phones: Report
- Tuesday October 14, 2025
- Written by Nithya P Nair, Edited by David Delima
Samsung reportedly patents self-healing screen technology and fingerprint sensor for foldables. The technology could debut in company's future foldable smartphones. The proposed structure can detect cracks, prevent damage, and heal sensitive areas, like in the camera cutouts and sensor regions. If implemented, the techonogly would pave way for a le...
-
www.gadgets360.com
-
Samsung Galaxy Z TriFold Patent Hints at Presence of Three Batteries, Triple Outer Camera Setup
- Friday October 10, 2025
- Written by Sucharita Ganguly, Edited by David Delima
A patent filing of the Samsung Galaxy Z TriFold shows a three-panel design with individual batteries linked by ribbon cables. The camera panel houses the smallest battery, while the third panel holds the largest, potentially offering more total capacity than the Galaxy Z Fold 7’s 4,400mAh cell. Rumoured to feature a 9.96-inch unfolded display, a ...
-
www.gadgets360.com
-
Apple Pencil With 'Trackball' Tip, Ability to Draw on Any Surface Described in Patent Document
- Wednesday July 9, 2025
- Written by Dhruv Raghav, Edited by David Delima
Apple has been granted a patent for its next generation stylus that could feature a trackball tip and a few new sensors. This could potentially allow users to create content on multiple surfaces without needing to draw on a touch sensitive display. It is to be noted that the company is yet to officially reveal the details about such a pencil.
-
www.gadgets360.com
-
Oppo Find N5 Flip Reportedly in Development, Schematics Hint at Updated Design With New Camera Layout
- Friday May 30, 2025
- Written by Sheldon Pinto, Edited by David Delima
The existence of Oppo’s next clamshell foldable is currently a mystery. It was previously reported that the company had halted work on its next clamshell device, which would have been the Oppo Find N5 Flip. The device was missing at the Oppo Find N5 announcement, which took place in February this year, hinting that the Chinese brand may have drop...
-
www.gadgets360.com
-
Samsung Vertical Rollable Phone Design Revealed in New Patent Document
- Tuesday April 22, 2025
- Written by David Delima
Samsung has been granted a US patent for a rollable smartphone design. The design patent hints at a compact phone that extends vertically to create a larger display and may feature a dual rear camera system that moves upwards with the expanding screen. Other OEMs like Oppo and Motorola, are also actively exploring 'sliding' phone concepts with exte...
-
www.gadgets360.com
-
Samsung Patent Application Describes Phone With Four Foldable Panels, Three Hinges
- Thursday April 3, 2025
- Written by David Delima
Samsung might be developing a foldable phone with four panels connected by three hinges, forming a single elongated display when unfolded. The panels fold into a thick bar, according to a patent application that has been published online. Samsung has yet to launch a tri-fold smartphone to rival the Huawei Mate XT Ultimate Edition
-
www.gadgets360.com
-
Samsung Foldable With 360-Degree Inward and Outward Folding Support Spotted in Patent Application
- Tuesday April 1, 2025
- Written by David Delima
Samsung is developing a 360-degree foldable phone, as revealed in a patent application. The device features a thin design with an inner screen that unfolds into a larger display or folds backward to serve as a cover display. Samsung showed off a phone with such a display in 2023, but it remains uncertain if this innovative foldable phone will be co...
-
www.gadgets360.com
-
Samsung Display Patent Hints at Tri-Fold Phone With Two Hinges, S Pen Support
- Thursday February 27, 2025
- Written by David Delima
Samsung Display recently secured a patent for a tri-fold smartphone that can fold twice. While Samsung already offers single-fold flip and book-style foldables, it has yet to launch a tri-fold phone like the Huawei Mate XT Ultimate Design. Recent reports suggest the company is developing a tri-fold foldable smartphone that could launch alongside th...
-
www.gadgets360.com
-
Apple's Foldable iPhone Tipped to Sport 7.74-Inch Inner Screen That 'Unfolds Like iPad'
- Saturday February 22, 2025
- Written by David Delima
Apple is reportedly developing a foldable iPhone to compete with Samsung, Oppo, and Huawei's foldable smartphones and a tipster has leaked details about the inner and outer displays of Apple's potential foldable iPhone on Weibo. While it has received patents for foldable technology, Apple has yet to announce plans to launch a foldable smartphone or...
-
www.gadgets360.com