Honda has patented a new motorcycle turn control system designed to enhance rider safety by actively supporting steering inputs. The technology focuses on motorcycle dynamics, where even minor corrections can greatly influence stability. Unlike current assist systems that merely alert riders to potential hazards, Honda's innovation takes a proactive approach. When another vehicle is detected in a blind spot, the system gently intervenes in steering, helping the rider avoid possible collisions while maintaining control, marking a notable advancement in motorcycle safety.
Electronics have long played a vital role in improving road safety, with systems like ABS, traction control, wheelie control, and airbags credited for reducing fatalities across both motorcycles and cars. Importantly, these technologies typically assist rider inputs without taking full control.
Also Read: Year-Ender 2025: Top 5 Automotive Trends To Witness In 2026
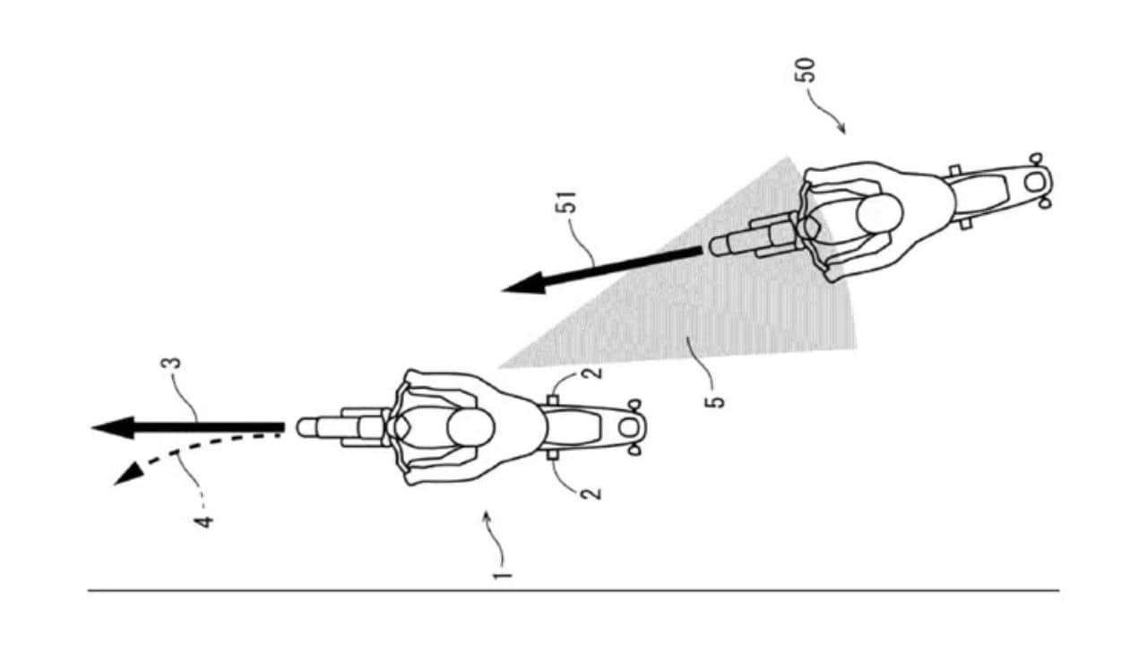
Honda's latest patent, however, introduces a more proactive approach. It outlines an emergency steering system that integrates a camera, blind spot detection, and steering control to gently guide the motorcycle away from potential hazards. In essence, it functions like a two-wheeled version of the lane-keeping assist already common in cars, offering riders an added layer of protection without compromising stability.

Honda Steering Assist Patent
Honda's proposed emergency steering system outlines two operating modes. If the rider is already reacting through braking, steering, or throttle adjustments, the system intervenes quickly to assist in redirecting the bike. If it senses the rider hasn't noticed the hazard, it applies stronger steering support, aiming to maintain balance and prevent panic. While the idea sounds innovative, it raises concerns about accuracy and rider trust.
In simple words, the system uses an event detection unit to understand the rider's actions, such as lane changes, acceleration, or braking. At the same time, a blind spot recognition unit processes camera data to spot vehicles approaching from risky angles, helping improve awareness and safety.
Also Read: New Ducati XDiavel V4 Launched At Rs 30.89 Lakh
Motorcycling relies heavily on situational awareness, with every decision shaped by positioning, observation, and escape routes. Questions remain about how effectively such technology can adapt to complex, fast-changing traffic scenarios. Avoiding one collision is valuable, but the risk of being steered into another hazard highlights the challenges of implementing this system in real-world conditions.

Honda Steering Assist Patent
Honda's new system may help riders avoid danger, but it also risks reducing attentiveness. By stepping in during critical moments, it could unintentionally encourage riders to rely too much on technology instead of staying fully focused on the road. While it's unlikely this will lead to widespread distractions like texting while riding, the concern remains that such features make multitasking easier. Motorcycling has always demanded sharp awareness, and any tool that shifts responsibility away from the rider raises questions about safety and long-term habits.
Track Latest News Live on NDTV.com and get news updates from India and around the world