Write On Tablets
- All
- News
-
TCL Note A1 Nxtpaper E-Note Launched With 8,000mAh Battery, 11.5-Inch Display: Price, Specifications
- Wednesday December 31, 2025
- Written by Nithya P Nair, Edited by David Delima
TCL Note A1 Nxtpaper has been launched in global markets. The latest E-Note from TCL, designed FOR digital reading, writing, and creativity, features an 11.5-inch display with a 120Hz refresh rate. It runs on a MediaTek G100 processor with 8GB of RAM and 256GB of storage. The TCL Note A1 Nxtpaper has an 8,000mAh battery, and it comes with a Pen Pro...
-
www.gadgets360.com
-
Apple Bringing Journal App to iPad and Mac With iPadOS 26 and macOS 26 Tahoe
- Wednesday June 18, 2025
- Written by Shaurya Tomer, Edited by Siddharth Suvarna
Apple is bringing its Journal app to the iPad and Mac computer with the iPadOS 26 and macOS Tahoe 26 updates, respectively. The app was introduced in 2023 on iPhone with the iOS 17.2 update. It helps users to write down their thoughts, provide suggestions on what to write about, and maintain a daily log, powered by on-device machine learning.
-
www.gadgets360.com
-
Xiaomi Pad 7 With 11.2-inch 3.2K LCD Screen, HyperOS 2 Launched in India: Price, Specifications
- Friday January 10, 2025
- Written by Sucharita Ganguly, Edited by David Delima
Xiaomi Pad 7 was launched in India on Friday. The tablet is equipped with a Snapdragon 7+ Gen 3 chipset and an 8,850mAh battery with 45W fast charging support. It sports an 11.2-inch 3.2K LCD screen and ships with Android 15-based HyperOS 2.0. The tablet carries a quad-speaker system with Dolby Atmos support and has several AI-backed features lik...
-
www.gadgets360.com
-
OnePlus Pad Gets OxygenOS 15 Update in India With AI Features and Flux Themes: What’s New
- Tuesday December 10, 2024
- Written by Shaurya Tomer, Edited by Siddharth Suvarna
OnePlus is rolling out the stable version of its latest operating system (OS) update dubbed OxygenOS 15 for the OnePlus Pad in India. It is based on Android 15 and brings visual changes courtesy of flux themes, improved animations, and luminous rendering effects across the user interface (UI). Further, it also bundles artificial intelligence (AI) f...
-
www.gadgets360.com
-
iOS 18.1 Update for iPhone Rolling Out With First Set of Apple Intelligence Features: What’s New
- Tuesday October 29, 2024
- Written by Shaurya Tomer, Edited by Siddharth Suvarna
Apple announced on Monday that its suite of artificial intelligence (AI) features — dubbed Apple Intelligence — is now widely available for devices such as the iPhone, iPad and Mac. Apple’s latest iOS 18.1, iPadOS 18.1, and macOS Sequoia 15.1 updates are currently rolling out and include additions such as Writing Tools, Clean Up and automatic...
-
www.gadgets360.com
-
Apple Intelligence May Not Be Ready in Time for iOS 18, iPadOS 18 Public Release in September: Report
- Monday July 29, 2024
- Written by Sheldon Pinto, Edited by Siddharth Suvarna
Apple Intelligence is expected to bring along a much needed AI infusion into Apple’s ecosystem of devices which is currently lagging well behind other operating systems when it comes to AI features. From AI writing tools, to Image Playground, to advanced AI-based photo-editing capabilities and smarter and situationally aware Siri, it is currentl...
-
www.gadgets360.com
-
Realme Tablet Teased by CMO, Asks Fans What Name They Would Prefer — Realme Pad or Realme Tab
- Thursday June 10, 2021
- Vineet Washington
Realme CMO Francis Wong has teased a new tablet on Twitter and is asking fans what they would prefer for the name. They can choose between Realme Pad or Realme Tab and at the time of writing, votes were in favour of Realme Tab but just barely with 50.5 percent to 49.5 percent.
-
www.gadgets360.com
-
How Scientists Use the Fulcrum App to Collect Data in the Field
- Sunday September 13, 2020
- Edited by Phalguni Ranjan
"Surveying dozens of villages, it becomes very difficult for us to write down all the information on a data sheet. Maintaining hundreds of sheets is a problem, and data loss is the biggest issue. We lost some valuable data to rain, abnormal weather conditions, sheets getting torn, and some random accidents that are inevitable while using paper. Thi...
-
www.gadgets360.com
-
Roman Writing Tablets Reveal Early London Life
- Wednesday June 1, 2016
- World News | Agence France-Presse
More than 400 Roman writing tablets have been unearthed in the heart of London, shedding light on the commerce-driven life in what would become the City of London financial hub, archaeologists said Wednesday.
-
www.ndtv.com
-
Lenovo Yoga Tablet 2 With 8-Inch Display, Windows 8.1 Launched at Rs. 24,499
- Wednesday April 22, 2015
- Written by RobinS
The tablet comes with Lenovo's AnyPen Technology, which lets users write directly on the screen of the tablet using a regular pen or pencil.
-
www.gadgets360.com
-
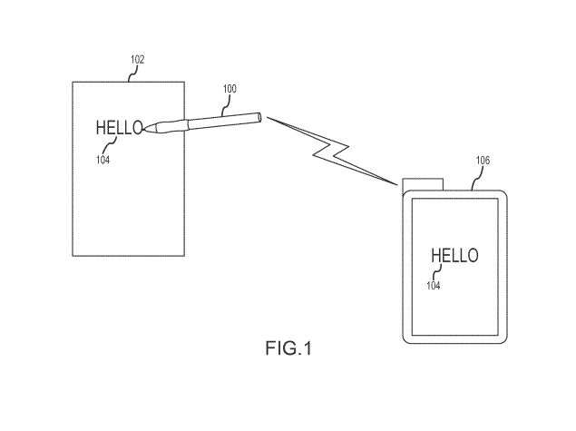
Apple Awarded Patent for a Stylus That Writes on 'Any Type of Surface'
- Wednesday December 31, 2014
- Written by HiteshA
The granted patent by USPTO describes onboard 3D motion sensors for precise input, and automatic transfer to a digital device.
-
www.gadgets360.com
-
TCL Note A1 Nxtpaper E-Note Launched With 8,000mAh Battery, 11.5-Inch Display: Price, Specifications
- Wednesday December 31, 2025
- Written by Nithya P Nair, Edited by David Delima
TCL Note A1 Nxtpaper has been launched in global markets. The latest E-Note from TCL, designed FOR digital reading, writing, and creativity, features an 11.5-inch display with a 120Hz refresh rate. It runs on a MediaTek G100 processor with 8GB of RAM and 256GB of storage. The TCL Note A1 Nxtpaper has an 8,000mAh battery, and it comes with a Pen Pro...
-
www.gadgets360.com
-
Apple Bringing Journal App to iPad and Mac With iPadOS 26 and macOS 26 Tahoe
- Wednesday June 18, 2025
- Written by Shaurya Tomer, Edited by Siddharth Suvarna
Apple is bringing its Journal app to the iPad and Mac computer with the iPadOS 26 and macOS Tahoe 26 updates, respectively. The app was introduced in 2023 on iPhone with the iOS 17.2 update. It helps users to write down their thoughts, provide suggestions on what to write about, and maintain a daily log, powered by on-device machine learning.
-
www.gadgets360.com
-
Xiaomi Pad 7 With 11.2-inch 3.2K LCD Screen, HyperOS 2 Launched in India: Price, Specifications
- Friday January 10, 2025
- Written by Sucharita Ganguly, Edited by David Delima
Xiaomi Pad 7 was launched in India on Friday. The tablet is equipped with a Snapdragon 7+ Gen 3 chipset and an 8,850mAh battery with 45W fast charging support. It sports an 11.2-inch 3.2K LCD screen and ships with Android 15-based HyperOS 2.0. The tablet carries a quad-speaker system with Dolby Atmos support and has several AI-backed features lik...
-
www.gadgets360.com
-
OnePlus Pad Gets OxygenOS 15 Update in India With AI Features and Flux Themes: What’s New
- Tuesday December 10, 2024
- Written by Shaurya Tomer, Edited by Siddharth Suvarna
OnePlus is rolling out the stable version of its latest operating system (OS) update dubbed OxygenOS 15 for the OnePlus Pad in India. It is based on Android 15 and brings visual changes courtesy of flux themes, improved animations, and luminous rendering effects across the user interface (UI). Further, it also bundles artificial intelligence (AI) f...
-
www.gadgets360.com
-
iOS 18.1 Update for iPhone Rolling Out With First Set of Apple Intelligence Features: What’s New
- Tuesday October 29, 2024
- Written by Shaurya Tomer, Edited by Siddharth Suvarna
Apple announced on Monday that its suite of artificial intelligence (AI) features — dubbed Apple Intelligence — is now widely available for devices such as the iPhone, iPad and Mac. Apple’s latest iOS 18.1, iPadOS 18.1, and macOS Sequoia 15.1 updates are currently rolling out and include additions such as Writing Tools, Clean Up and automatic...
-
www.gadgets360.com
-
Apple Intelligence May Not Be Ready in Time for iOS 18, iPadOS 18 Public Release in September: Report
- Monday July 29, 2024
- Written by Sheldon Pinto, Edited by Siddharth Suvarna
Apple Intelligence is expected to bring along a much needed AI infusion into Apple’s ecosystem of devices which is currently lagging well behind other operating systems when it comes to AI features. From AI writing tools, to Image Playground, to advanced AI-based photo-editing capabilities and smarter and situationally aware Siri, it is currentl...
-
www.gadgets360.com
-
Realme Tablet Teased by CMO, Asks Fans What Name They Would Prefer — Realme Pad or Realme Tab
- Thursday June 10, 2021
- Vineet Washington
Realme CMO Francis Wong has teased a new tablet on Twitter and is asking fans what they would prefer for the name. They can choose between Realme Pad or Realme Tab and at the time of writing, votes were in favour of Realme Tab but just barely with 50.5 percent to 49.5 percent.
-
www.gadgets360.com
-
How Scientists Use the Fulcrum App to Collect Data in the Field
- Sunday September 13, 2020
- Edited by Phalguni Ranjan
"Surveying dozens of villages, it becomes very difficult for us to write down all the information on a data sheet. Maintaining hundreds of sheets is a problem, and data loss is the biggest issue. We lost some valuable data to rain, abnormal weather conditions, sheets getting torn, and some random accidents that are inevitable while using paper. Thi...
-
www.gadgets360.com
-
Roman Writing Tablets Reveal Early London Life
- Wednesday June 1, 2016
- World News | Agence France-Presse
More than 400 Roman writing tablets have been unearthed in the heart of London, shedding light on the commerce-driven life in what would become the City of London financial hub, archaeologists said Wednesday.
-
www.ndtv.com
-
Lenovo Yoga Tablet 2 With 8-Inch Display, Windows 8.1 Launched at Rs. 24,499
- Wednesday April 22, 2015
- Written by RobinS
The tablet comes with Lenovo's AnyPen Technology, which lets users write directly on the screen of the tablet using a regular pen or pencil.
-
www.gadgets360.com
-
Apple Awarded Patent for a Stylus That Writes on 'Any Type of Surface'
- Wednesday December 31, 2014
- Written by HiteshA
The granted patent by USPTO describes onboard 3D motion sensors for precise input, and automatic transfer to a digital device.
-
www.gadgets360.com