Patent Case
- All
- News
- Videos
-
Baba Ramdev: The Yoga Guru And The Court Scrapes Behind His Business Empire
- Friday May 2, 2025
- India News | Written by Chandrashekar Srinivasan
Meet Baba Ramdev - 'yoga guru', entrepreneur, and, over the past few years - a regular in courtrooms across India, courtesy patently misleading ads, unsubstantiated remarks about his Patanjali products' ability to 'cure' diseases such as COVID.
-
www.ndtv.com
-
Samsung Wins Patent for AI-Powered Wallpaper Feature Based on Time of Day, Weather
- Monday January 6, 2025
- Written by Shaurya Tomer, Edited by Siddharth Suvarna
Samsung might be developing a new feature for its devices which can tweak the wallpaper based on the current weather information, according to a patent recently granted to the company. The purported feature is said to leverage generative artificial intelligence (AI) to modify the existing wallpaper and add an overlay over the user interface (UI), i...
-
www.gadgets360.com
-
Nintendo, The Pokémon Company Seeking Injunction on Palworld, JPY 5 Million Each in Damages from Pocketpair
- Monday November 11, 2024
- Written by Manas Mitul
Palworld developer Pocketpair has shared details from the patent infringement lawsuit brought against it by Nintendo and The Pokémon Company in September, shedding light on the plaintiffs’ demands. The two companies are seeking an injunction on Palworld, a survival game with monsters that bear alleged similarities to the creatures from the Poké...
-
www.gadgets360.com
-
Huawei Foldable Smartphone With Attached Case, Rectangular Design Spotted in Patent Document
- Wednesday October 30, 2024
- Written by David Delima
Huawei may be developing a foldable phone featuring an attached cover, according to a patent document. It might feature a tri-fold design, with the outermost panel serving as a protective cover when it is closed. Here's everything you need to know about Huawei's latest smartphone patent.
-
www.gadgets360.com
-
Apple Wins $250 US Jury Verdict in Patent Case Over Masimo Smartwatches
- Saturday October 26, 2024
- Reuters
Apple has persuaded a federal jury that initial versions of Masimo's smartwatches violated two of its design patents, amid a wider intellectual property conflict between the two firms. However, the jury granted Apple a mere $250 in damages, in the dispute between both companies.
-
www.gadgets360.com
-
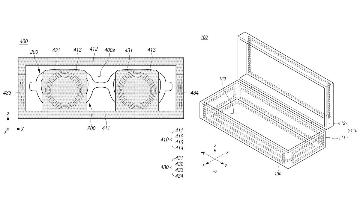
Samsung Patent Application Hints at Wireless Charging Case for AR Glasses
- Wednesday September 11, 2024
- Written by David Delima
Samsung may be developing a wireless charging case for AR glasses, a recently published patent application reveals. The document provides some insights into the operation of the wireless charging case, that could allow users to place their AR glasses into a rectangular charging case.
-
www.gadgets360.com
-
Opinion | Pune Porsche Crash And India's Shoddy Juvenile Justice System
- Tuesday May 28, 2024
- Opinion | Kaleeswaram Raj
In the Pune incident, the act of granting bail to the juvenile on trivial conditions, such as writing an essay on traffic safety and assisting the traffic police, was not only naive but also patently illegal.
-
www.ndtv.com
-
Apple Urges US Appeals Court to Overturn ITC's Apple Watch Import Ban Amidst Masimo Dispute
- Saturday April 6, 2024
- Reuters
Apple has asked a US appeals court to reverse a decision by the US International Trade Commission's (ITC) decision to ban the imports of some Apple Watch models in the US amid the ongoing dispute with Masimo. The company has removed pulse oximetry features from Apple Watch Series 9 and Watch Ultra 2 models sold during the appeal period, which could...
-
www.gadgets360.com
-
Apple's Latest Patent Application Reveals New Touchscreen iMac Design for Artists With Wireless Charging Station
- Tuesday March 12, 2024
- Written by Sheldon Pinto, Edited by David Delima
While Apple appears to not be interested in launching an iMac with a touchscreen display, there’s now a freshly filed patent which hints that the company is actively working on the same. However, its functionality and use case may be a bit different from what all of us expect it to be. Moreover, there’s other interesting ideas that have been re...
-
www.gadgets360.com
-
Court Action Against Woman For Using "Derogatory Language" Against Judge
- Friday January 19, 2024
- India News | Press Trust of India
The Delhi High Court has initiated contempt action against an Indian woman living in Australia for using "derogatory" language against the judge, saying her remarks are patently contemptuous and show complete disregard to the dignity of the court.
-
www.ndtv.com
-
AI Can't Be Patent 'Inventor', Says UK Supreme Court In Landmark Ruling
- Thursday December 21, 2023
- World News | Reuters
A US computer scientist on Wednesday lost his bid to register patents over inventions created by his artificial intelligence system in a landmark case in Britain about whether AI can own patent rights.
-
www.ndtv.com
-
Apple Watch Series 9, Watch Ultra 2 Sales to Be Halted in the US; Company Reportedly Working on Software Fix
- Tuesday December 19, 2023
- Written by Sucharita Ganguly, Edited by Siddharth Suvarna
Apple Watch Series 9 and Watch Ultra 2 sales will soon be halted in the US. This comes after an International Trade Commission (ITC) ruling surrounding a patent dispute between Apple and Masimo. The case is now under a 60-day Presidential Review Period which ends on December 25. There are now also reports of the Cupertino-based tech giant workin...
-
www.gadgets360.com
-
Delhi High Court Directs Officials To Approach Tribunal In Arvind Kejriwal Bungalow Renovation Case
- Thursday September 21, 2023
- India News | Press Trust of India
The Delhi High Court allows six PWD officials to approach Central Administrative Tribunal (CAT) over show cause notices for renovating CM Arvind Kejriwal's residence.
-
www.ndtv.com
-
Supreme Court Revokes Dowry Harassment Case, Says Woman "Wanted Vengeance"
- Saturday September 2, 2023
- India News | Press Trust of India
The Supreme Court has quashed a dowry harassment case filed by a woman against her in-laws, saying she "clearly wanted to wreak vengeance" and allowing criminal proceedings to continue would result in patent injustice.
-
www.ndtv.com
-
Google to Pay $338.7 Million in Damages Over Chromecast Patent Case, Rules US Jury
- Monday July 24, 2023
- Reuters
Alphabet's Google violated a software developer's patent rights with its remote-streaming technology and must pay $338.7 million (nearly Rs. 2,770 crore) in damages, a federal jury in Waco, Texas decided on Friday. The jury found that Google's Chromecast and other devices infringe patents owned by Touchstream Technologies related to streaming video...
-
www.gadgets360.com
-
Baba Ramdev: The Yoga Guru And The Court Scrapes Behind His Business Empire
- Friday May 2, 2025
- India News | Written by Chandrashekar Srinivasan
Meet Baba Ramdev - 'yoga guru', entrepreneur, and, over the past few years - a regular in courtrooms across India, courtesy patently misleading ads, unsubstantiated remarks about his Patanjali products' ability to 'cure' diseases such as COVID.
-
www.ndtv.com
-
Samsung Wins Patent for AI-Powered Wallpaper Feature Based on Time of Day, Weather
- Monday January 6, 2025
- Written by Shaurya Tomer, Edited by Siddharth Suvarna
Samsung might be developing a new feature for its devices which can tweak the wallpaper based on the current weather information, according to a patent recently granted to the company. The purported feature is said to leverage generative artificial intelligence (AI) to modify the existing wallpaper and add an overlay over the user interface (UI), i...
-
www.gadgets360.com
-
Nintendo, The Pokémon Company Seeking Injunction on Palworld, JPY 5 Million Each in Damages from Pocketpair
- Monday November 11, 2024
- Written by Manas Mitul
Palworld developer Pocketpair has shared details from the patent infringement lawsuit brought against it by Nintendo and The Pokémon Company in September, shedding light on the plaintiffs’ demands. The two companies are seeking an injunction on Palworld, a survival game with monsters that bear alleged similarities to the creatures from the Poké...
-
www.gadgets360.com
-
Huawei Foldable Smartphone With Attached Case, Rectangular Design Spotted in Patent Document
- Wednesday October 30, 2024
- Written by David Delima
Huawei may be developing a foldable phone featuring an attached cover, according to a patent document. It might feature a tri-fold design, with the outermost panel serving as a protective cover when it is closed. Here's everything you need to know about Huawei's latest smartphone patent.
-
www.gadgets360.com
-
Apple Wins $250 US Jury Verdict in Patent Case Over Masimo Smartwatches
- Saturday October 26, 2024
- Reuters
Apple has persuaded a federal jury that initial versions of Masimo's smartwatches violated two of its design patents, amid a wider intellectual property conflict between the two firms. However, the jury granted Apple a mere $250 in damages, in the dispute between both companies.
-
www.gadgets360.com
-
Samsung Patent Application Hints at Wireless Charging Case for AR Glasses
- Wednesday September 11, 2024
- Written by David Delima
Samsung may be developing a wireless charging case for AR glasses, a recently published patent application reveals. The document provides some insights into the operation of the wireless charging case, that could allow users to place their AR glasses into a rectangular charging case.
-
www.gadgets360.com
-
Opinion | Pune Porsche Crash And India's Shoddy Juvenile Justice System
- Tuesday May 28, 2024
- Opinion | Kaleeswaram Raj
In the Pune incident, the act of granting bail to the juvenile on trivial conditions, such as writing an essay on traffic safety and assisting the traffic police, was not only naive but also patently illegal.
-
www.ndtv.com
-
Apple Urges US Appeals Court to Overturn ITC's Apple Watch Import Ban Amidst Masimo Dispute
- Saturday April 6, 2024
- Reuters
Apple has asked a US appeals court to reverse a decision by the US International Trade Commission's (ITC) decision to ban the imports of some Apple Watch models in the US amid the ongoing dispute with Masimo. The company has removed pulse oximetry features from Apple Watch Series 9 and Watch Ultra 2 models sold during the appeal period, which could...
-
www.gadgets360.com
-
Apple's Latest Patent Application Reveals New Touchscreen iMac Design for Artists With Wireless Charging Station
- Tuesday March 12, 2024
- Written by Sheldon Pinto, Edited by David Delima
While Apple appears to not be interested in launching an iMac with a touchscreen display, there’s now a freshly filed patent which hints that the company is actively working on the same. However, its functionality and use case may be a bit different from what all of us expect it to be. Moreover, there’s other interesting ideas that have been re...
-
www.gadgets360.com
-
Court Action Against Woman For Using "Derogatory Language" Against Judge
- Friday January 19, 2024
- India News | Press Trust of India
The Delhi High Court has initiated contempt action against an Indian woman living in Australia for using "derogatory" language against the judge, saying her remarks are patently contemptuous and show complete disregard to the dignity of the court.
-
www.ndtv.com
-
AI Can't Be Patent 'Inventor', Says UK Supreme Court In Landmark Ruling
- Thursday December 21, 2023
- World News | Reuters
A US computer scientist on Wednesday lost his bid to register patents over inventions created by his artificial intelligence system in a landmark case in Britain about whether AI can own patent rights.
-
www.ndtv.com
-
Apple Watch Series 9, Watch Ultra 2 Sales to Be Halted in the US; Company Reportedly Working on Software Fix
- Tuesday December 19, 2023
- Written by Sucharita Ganguly, Edited by Siddharth Suvarna
Apple Watch Series 9 and Watch Ultra 2 sales will soon be halted in the US. This comes after an International Trade Commission (ITC) ruling surrounding a patent dispute between Apple and Masimo. The case is now under a 60-day Presidential Review Period which ends on December 25. There are now also reports of the Cupertino-based tech giant workin...
-
www.gadgets360.com
-
Delhi High Court Directs Officials To Approach Tribunal In Arvind Kejriwal Bungalow Renovation Case
- Thursday September 21, 2023
- India News | Press Trust of India
The Delhi High Court allows six PWD officials to approach Central Administrative Tribunal (CAT) over show cause notices for renovating CM Arvind Kejriwal's residence.
-
www.ndtv.com
-
Supreme Court Revokes Dowry Harassment Case, Says Woman "Wanted Vengeance"
- Saturday September 2, 2023
- India News | Press Trust of India
The Supreme Court has quashed a dowry harassment case filed by a woman against her in-laws, saying she "clearly wanted to wreak vengeance" and allowing criminal proceedings to continue would result in patent injustice.
-
www.ndtv.com
-
Google to Pay $338.7 Million in Damages Over Chromecast Patent Case, Rules US Jury
- Monday July 24, 2023
- Reuters
Alphabet's Google violated a software developer's patent rights with its remote-streaming technology and must pay $338.7 million (nearly Rs. 2,770 crore) in damages, a federal jury in Waco, Texas decided on Friday. The jury found that Google's Chromecast and other devices infringe patents owned by Touchstream Technologies related to streaming video...
-
www.gadgets360.com